- الصفحة الرئيسية
- مولد فار الثابت (SVG)
مولد فار الثابت (SVG)
Static Var Generator
مصنع دياسيرو سالتيلو للفولاذ والصلب 13.8 كيلو فولت/15 ميجا فولت أمبير
احتياجات العميل
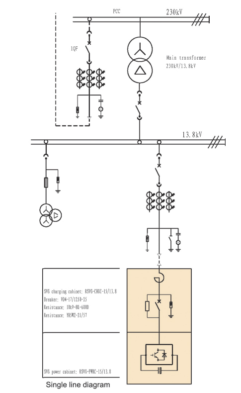
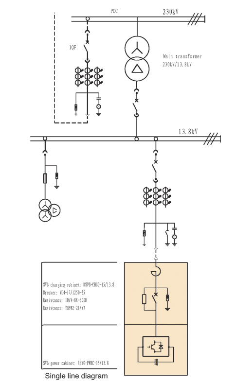
يقع مصنع دياسيرو سالتيلو للصلب في مدينة سالتيلو شمال المكسيك. تم تركيب جهاز STATCOM في المحطة الفرعية لمصنع Deacero للصلب وتم تشغيله رسميًا في 8 ديسمبر 2020، حيث يستخدم المشروع جهاز STATCOM في حاوية (طراز RSVG-15.8-13.8-TWOY).
- هدف التحكم: معامل القدرة أكبر من أو يساوي 0.97 (الحث الجزئي)
- المتطلبات التوافقية: يلبي المعايير الوطنية المتبعة في المكسيك (IEEE 519-2014)
الحل المقدم من شركة RXPE
- حالة الحمل
الحمل الرئيسي لمصنع Deacero للصلب في المكسيك هو معدات درفلة الأسلاك، حيث يبلغ أقصى حمل تفاعلي لها حوالي 11 ميجا فار، والتوافقي الرئيسي هو الخامس، وأقصى تيار توافقي لها حوالي 100 أمبير. تقع نقطة فحص PCC في الموقع على جانب 220 كيلو فولت، وتمد المصنع بالطاقة من خلال المحول الرئيسي 220 كيلو فولت/13.8 كيلو فولت - مخطط التعويض
جهاز STATCOM وهو عبارة عن هيكل متتالي متصل مباشرةً بقضيب التوصيل بجهد 13.8 كيلو فولت، وأهداف التحكم هي عامل القدرة والتوافقيات.
توجد نقطة قياس التقييم في الموقع في الطرف البعيد، ولا يمكن جمع إشارات الجهد والتيار عن بُعد. لذلك، يتم تعويض الطاقة التفاعلية عن طريق ضبط معامل الكسب ومعامل الإزاحة، ويتم تعويض التوافقيات ديناميكيًا في الموقع.
الفوائد التي يحصل عليها العميل
حالة الطاقة في الموقع ومعامل القدرة المعوض
مقارنة بين الأشكال الموجية للجهد والتيار من جانب الشبكة قبل التعويض وبعده
طيف تيار الشبكة الجانبي قبل التعويض وبعده
استفسار









